点赞
评论
收藏
分享
当前位置:
行人气囊?福特申请皮卡充气保险杠专利,以保护行人腿部
皮卡车市
车家号·0浏览·2023-11-21 16:09 · 北京福特对 IIHS 研究的答案表明,大型车辆对行人来说更加致命。
福特正在为皮卡和 SUV 开发一种创新的充气保险杠,旨在提高行人安全,它的出现恰逢其时。IIHS 最近的一项研究证实了我们都知道的事实:前端大而块状的皮卡和 SUV 对行人的危险比其他车辆要大得多。IIHS 希望对这些大型车辆的设计进行改变,但通常,这些壁状前端有实际用途,例如增加F-150 Raptor等越野车的接近角。
美国专利商标局的一项新专利,旨在在不改变这些车辆设计的情况下提高行人安全,但它确实引入了更多的复杂性和成本。
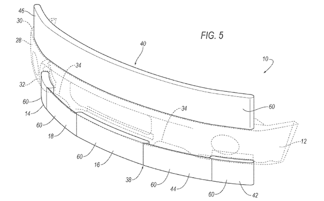
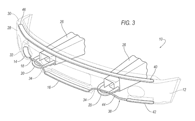
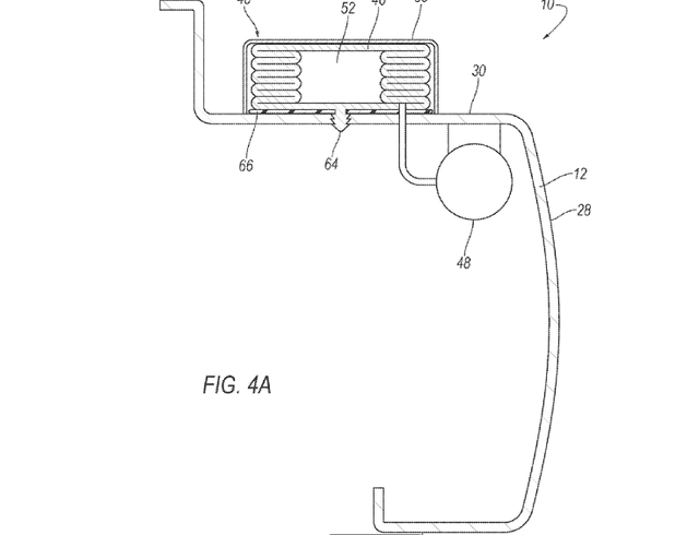
该专利详细介绍了烈马等方脸猛兽的前端如何配备一个充气保险杠,该保险杠从传统保险杠上方伸出,另一个从下方伸出。这与传统安全气囊的行为方式大致相同,碰撞传感器会检测到碰撞并立即使用烟火或储存气体充气机给气囊充气。
这些充气保险杠并不是为了缓冲行人而设计的。相反,这个想法是,这两个充气缓冲器将协同工作,以“减少股骨和胫骨之间的相对运动”——换句话说,提供膝盖支撑以防止腿部骨折。下部充气装置还有助于防止行人跌落到行驶中的汽车下方。
最明显的解决方案就是改进皮卡/SUV 的基本设计和形状,但现代消费者总是希望他们的新卡车比旧卡车更大,这使得越来越大的壁面饰板无法逃脱。
这种对更大尺寸和空间的痴迷对驾车者和行人都产生了巨大影响,但如果立法层面不做出改变,各种形状的汽车只会增长,因此福特必须找到一种方法,在保持与竞争对手的竞争的同时,仍坚持其品牌理念。
本内容来自汽车之家创作者,不代表汽车之家的观点和立场。
文章标签
点赞
评论
收藏
分享
举报/纠错
本文作者
皮卡车市2.1万关注 · 3148作品
关注
找皮卡、买皮卡、用皮卡,尽在皮卡车市。
作者其他作品
进入主页
热门内容
热门文章标签
评测体验
海选导购
新车资讯
用车攻略
二手车
改装车
自驾旅行
越野
文化历史
技术解析
车展
扫码下载汽车之家App
© 2026 汽车之家 www.autohome.com.cn
京公网安备 11010802000104号
京ICP备09113703号-1
信息网络传播视听节目许可证: 0110553
广播电视节目制作经营许可证
公司名称:北京车之家信息技术有限公司
中央网信办违法和不良信息举报中心
违法和不良信息举报电话:400-868-5856
举报邮箱:jubao@autohome.com.cn
京ICP备09113703号-1
信息网络传播视听节目许可证: 0110553
广播电视节目制作经营许可证
公司名称:北京车之家信息技术有限公司
中央网信办违法和不良信息举报中心
违法和不良信息举报电话:400-868-5856
举报邮箱:jubao@autohome.com.cn

