近日,保时捷申请了全新六冲程发动机的专利,在电气化时代,越来越多车企将研发重心放在了电驱系统、电池和智能上,内燃机技术似乎遇到了瓶颈,但保时捷作为运动车型制造商,希望保留原始的机械感,给燃油车爱好者带来更多的选择,依旧在开发新的内燃机技术。那么这个六冲程发动机有哪些优缺点,为何要在4冲程的基础上增加两个冲程?下面我们来详细分析。
什么是发动机冲程
如今常见的活塞发动机大多为四冲程设计,四个冲程是指发动机曲轴每旋转两周,经历进气、压缩、做功、排气,总共四个冲程,完成一次循环,简单来说就是四个步骤,在四个冲程中,只有一个冲程用来做功,推动活塞上下运动,再通过连杆带动曲轴,将汽油燃烧产生的能量利用,曲轴旋转,通过变速箱和半轴传递到轮胎,带动车轮旋转,这是发动机的基本原理。
但在一些下排量的摩托或者割草机上,还可以看到两冲程发动机,曲轴转动一周、经历两个冲程就可以完成一个工作循环。相比四冲程,二冲程发动机的结构更为简单,气缸盖、气缸、活塞、活塞环等零件就组成了一个发动机,缸体上有进气孔、排气孔和换气孔,相比四活塞发动机,没有配气机构和润滑系统,冷却系统也是简单的风冷,没有水冷系统,结构简单。
二冲程发动机由于两个冲程有一个做功,更小的排量,拥有更足的动力,适合摩托车,但缺点是油耗较高,同时废气的污染更严重,因此在家用车上已经淘汰。
那么保时捷为何要开发六冲程的发动机,简单来说,就是四冲程的发动机效率较低,四个步骤,只有一个做功,二冲程虽然效率高,但存在排放问题,保时捷的思路是一个循环六个步骤,其中有两个步骤做功,单位时间内可以提高发动机的工作效率。
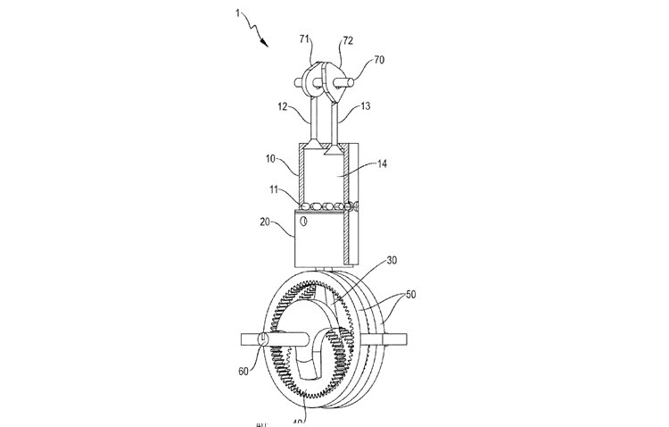
保时捷六冲程发动机专利
获得专利的发动机采用特殊的曲轴,为循环增加了更多的动力和压缩冲程。在四冲程发动机中,进气冲程是空气和燃料进入气缸的过程。压缩是活塞将混合物推到气缸顶部的过程。混合物被点燃,推动活塞向下时属于做功冲程。排气是最后一步,将剩余的气体排出气缸。
保时捷设计师认为可以在此过程中添加另一个压缩和做功冲程。提交给专利局的文件表明,六个独立冲程可分为两个三冲程序列。添加的冲程在传统的做功和排气冲程之间。那么第一个序列将是进气-压缩-做功,接着进行压缩-做功-排气。进气在前,排气在后,中间多了一组压缩和做功的步骤。
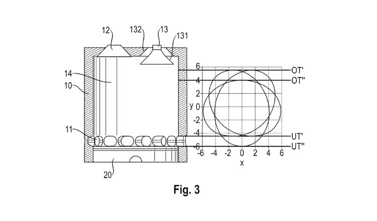
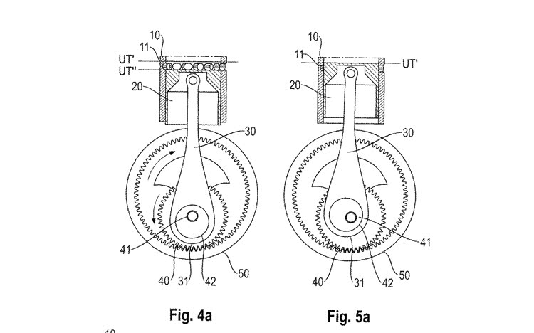
这种新型点火装置的秘诀是曲轴围绕两个同心圆(也称为环)旋转,从而实现交替旋转点,也就是有了两个旋转的中心,减少活塞在其冲程中必须行进到下止点的距离,其中一个旋转点减少了活塞的行程。这种交替旋转设计会改变发动机的压缩比,这意味着发动机将有两个上止点和下止点。
这种设计思路在日产的可变压缩比发动机中也曾展示,但可变压缩比的核心依旧是四冲程设计,而保时捷的六冲程设计结合了四冲程和两冲程的优点,一方面,每次循环做功两次,相当于三冲程做功一次,做工效率在两冲程和四冲程之间,一方面进排气只有一次,可以更彻底地燃烧混合物,减少碳排放。
当然,这种设计的缺点是增加了机械结构的复杂性,增加了发动机的制造成本和后期的维修保养成本,带来的效果是否显著还有待观察。
选车侦探观点:和许多专利一样,这项专利何时量产还没有消息。但作为一个有趣的想法,可以看出保时捷正在寻找让内燃机再次进化的思路,如何在降低碳排放的同时保持足够的动力,让发动机不用再安装颗粒捕捉器。大家觉得这项技术怎么样?有机会实现吗?欢迎讨论。
京ICP备09113703号-1
信息网络传播视听节目许可证: 0110553
广播电视节目制作经营许可证
公司名称:北京车之家信息技术有限公司
中央网信办违法和不良信息举报中心
违法和不良信息举报电话:400-868-5856
举报邮箱:jubao@autohome.com.cn

