点赞
评论
收藏
分享
当前位置:
春风1250TR-G将搭载电动倒车系统
MOTO
车家号·0浏览·2025-03-20 10:59 · 北京春风在大型巡航车市场持续发力,旗下的1250TR-G作为品牌旗舰长途旅行车款,拥有1279cc V型双缸引擎,其动力源自KTM的LC8平台。 近日,根据最新专利文件显示,这款车型将迎来升级,新增电动倒车功能,这项技术已在豪华巡航车与大型旅行车款上越来越普及,能大幅提升骑士在低速状态下的控便利性。
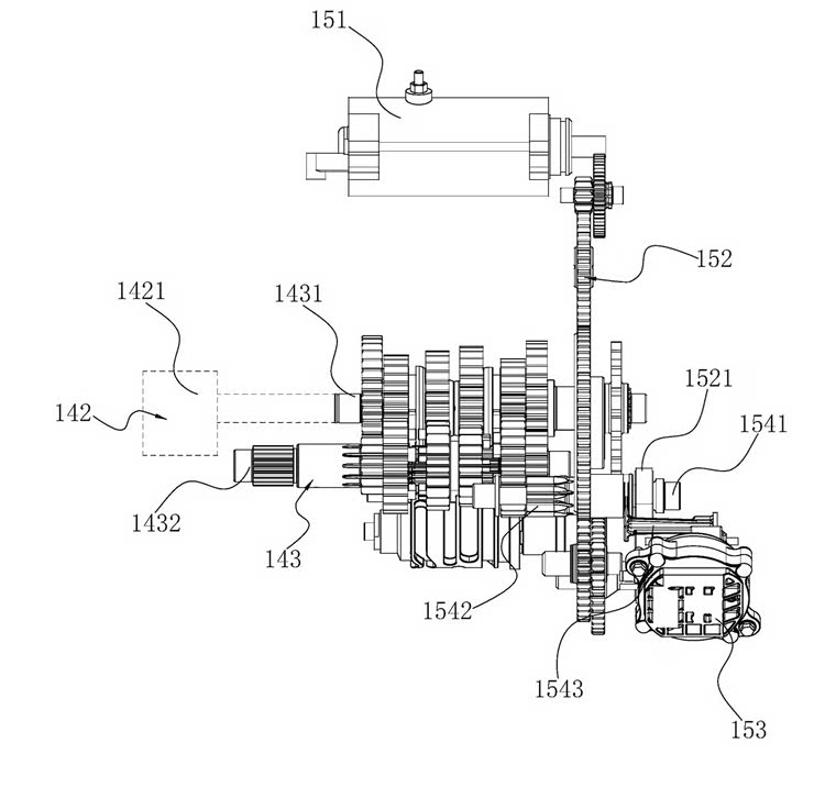
专利曝光:起动电机驱动倒车,结合电子控制系统根据 春风 提交的专利,1250TR-G 的电动倒车系统是通过起动马达驱动,与多数高端旅跑车型采用的机制相似。 起动马达(151 号)位于 V 型引擎的夹角内,原本仅负责启动引擎,如今透过额外齿轮机构(152 号)与电子作动器,可以在特定条件下让摩托车倒退。
这套系统设计上相当安全,只有当变速箱处于空档时,作动器才会允许倒车档启动,避免骑士误作导致危险。 此外,启动后的倒车功能将由车把上的专属按钮作,让骑士能够轻松控制车辆后移,不需要费力下车推动。
更进阶的控? 可能支持低速前进模式有趣的是,专利文件显示该系统可能具备低速前进模式,这类技术已在 Honda GoldWing 等高端巡航车上应用,能让骑士在狭窄空间或精细作时更稳定地移动车辆。 如果这项技术确实导入,春风 1250TR-G 在控层面将更接近欧美日系豪华巡航车款,进一步提升其高端市场竞争力。
本内容来自汽车之家创作者,不代表汽车之家的观点和立场。
文章标签
点赞
评论
收藏
分享
举报/纠错
本文作者
MOTO2.6万关注 · 7969作品
关注
摩托车资深媒体人,与车友分享最新最有趣的摩托车讯息。
作者其他作品
进入主页
热门内容
热门文章标签
评测体验
海选导购
新车资讯
用车攻略
二手车
改装车
自驾旅行
越野
文化历史
技术解析
车展
扫码下载汽车之家App
© 2026 汽车之家 www.autohome.com.cn
京公网安备 11010802000104号
京ICP备09113703号-1
信息网络传播视听节目许可证: 0110553
广播电视节目制作经营许可证
公司名称:北京车之家信息技术有限公司
中央网信办违法和不良信息举报中心
违法和不良信息举报电话:400-868-5856
举报邮箱:jubao@autohome.com.cn
京ICP备09113703号-1
信息网络传播视听节目许可证: 0110553
广播电视节目制作经营许可证
公司名称:北京车之家信息技术有限公司
中央网信办违法和不良信息举报中心
违法和不良信息举报电话:400-868-5856
举报邮箱:jubao@autohome.com.cn

