对于身处混动市场领先地位的丰田来说,其有着十分多样的混动技术储备与成熟的产品线。无论是早期的普锐斯还是后续的新能源产品,都受到了全球消费者的认可与追捧。然而相比之下,丰田在新能源皮卡市场的动作却并不算多。不过就在近期,他们在美国国家专利网站上公示了多项插混皮卡新专利,让我们得以一窥丰田未来可能推出的插混皮卡的设计方案。
本次公示的专利信息主要针对电池方面,其通过结构图向我们展示了未来丰田插混皮卡电池的多种布局位置。总体来看,未来丰田将会采用货箱下部与“后排座椅下+货箱下部”结合这两种主要的布局方式。
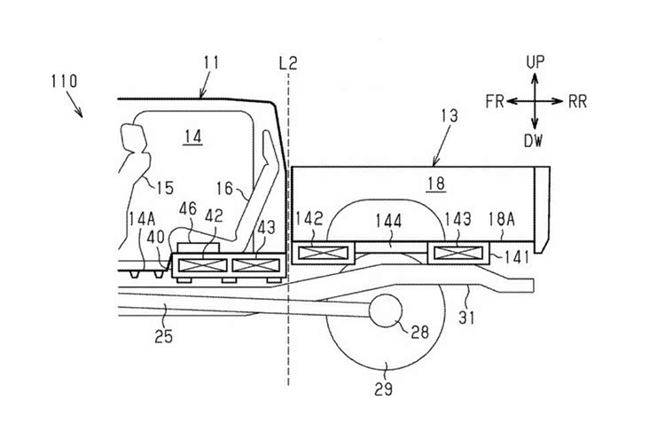
将电池布置在货箱处可以算是较为常见的插混皮卡布局形式,通过目前得到的简易结构图来看,丰田选择将电池“夹”于货箱下部与车架之间,这一点与山海炮Hi4-T大致相同,并且最大可以布置到车架尾端,以此来提升车辆的电池容量。不过考虑到后轮的悬挂系统,如此的电池布局方式在宽度上较为有限,并非将电池空间做到最大化。
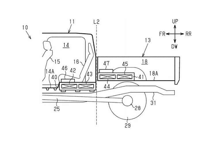
鉴于此,丰田又想出了第二套方案,将后排座椅下部空间与货箱相结合。而把电池放置于后排座椅的下方也并非什么新发明,在大家熟悉的“滴滴神车”卡罗拉双擎上,丰田就采用了将小电池放置在后排座椅下面的方式,从而实现了HEV(非插电)混动效果。
通过俯视图来看,插混皮卡整台车的电池组将会被分成前后两个部分,前部分的电池放置于座椅下方,并介于车辆“大梁”之间,不过考虑到传动装置等机械部件,预计前部电池组的厚度将十分有限。不过再加上货箱部分的动力电池,将会很好地达到提高车辆电池容量,从而提升纯电续航能力的效果。而在专利说明中丰田也提到,他们将会通过优化电池布置位置、针对性设计座椅与车架等多种方式,避免电池对后排乘客空间与舒适度造成影响。
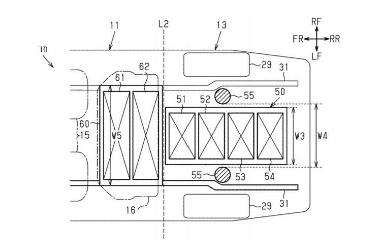
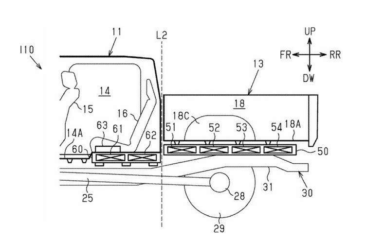
除了上文提到的两种布置方式外,在本次公示的专利信息中,丰田还披露了多种基于这两种布局形式所实现的变体(如上图所示)。从中我们也不难看出丰田的研发人员对于插混皮卡电池位置的权衡与思考。通过不同电池位置与容量的组合,也可以让一套插混系统可以更好地兼容不同级别与定位的车型。
尽管本次公示信息十分有限,并且也没有透露未来车辆具体的性能参数。但是通过电池布局位置我们也可以推断,丰田的插混皮卡将会采用“非解耦”的方式,没有在后桥布置驱动电机,保留了传动轴以及机械四驱系统,这一点与长城Hi4-T系统基本一致,但与比亚迪Shark6上所采用的“DMO”则有本质不同。显然丰田也希望自家插混皮卡不仅可以做到电池布局方式与容量的灵活多样,并且也通过保留传统皮卡的机械结构,以此保证新能源皮卡的可靠性与重载能力。
当然,按照过往的经验,公示专利并不代表着一定会将这些技术路线最终量产落地。不过这至少代表了丰田正在积极研发插混皮卡产品,并且根据其目前的战略布局来看,这些车型在未来也大概率会在全球市场中投放。如此一来,对于目前广大投身海外市场,想通过新能源皮卡实现差异化竞争的中国品牌来说,当丰田、福特等老牌品牌入局后,恐怕也会在一定程度上压缩中国皮卡目前所拥有的生存空间。那么未来全球新能源皮卡市场的格局究竟如何,让我们拭目以待。
京ICP备09113703号-1
信息网络传播视听节目许可证: 0110553
广播电视节目制作经营许可证
公司名称:北京车之家信息技术有限公司
中央网信办违法和不良信息举报中心
违法和不良信息举报电话:400-868-5856
举报邮箱:jubao@autohome.com.cn

