华为在注册商标这块儿,也是深不可测。
之前网友们还在调侃华为注册 “ 仙界 ”、“ 天界 ” ,谁知华为目标明确,继续拓展智能汽车版图。
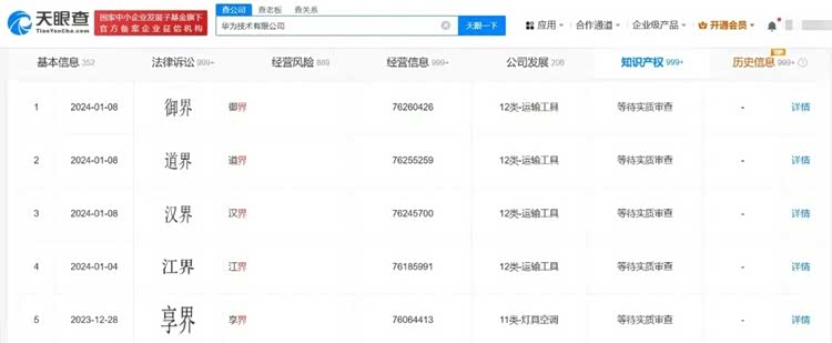
最新消息,华为又拿下了 “ 绝界 ” 商标,华为在布局汽车战略方面,看来还在下一盘大棋。
这次华为成功注册的 “ 绝界 ” 商标,国际分类为 12 类运输工具,覆盖汽车车轮、汽车座椅、电动汽车、汽车车身、混合动力汽车和自动驾驶汽车等。
很明显了,又是 “ 界 ” 字商标矩阵。
有关华为以 “ 界 ” 字为主题的商标:“ 仙界 ”、“ 天界 ”、“ 君界 ”、“ 峥界 ”、“ 江界 ”,包括这次的 “ 绝界 ” ,字面上都比较大气磅礴。
而且还有数据统计,前前后后华为已经申请了近 200 个带 “ 界 ” 字的商标。
对于这类商标注册,不少网友也在持续关注。
这次 “ 绝界 ” 下来了,网友表示:
“ 啥定位呢,该出越野的了?”
也有网友表示,华为这是在占位、在防蹭热度?
毕竟之前神龙发布的示界引发了不少网友误会。
而商标布局的背后,是华为已经落地的五大汽车品牌。
例如,与赛力斯合作的问界、跟奇瑞合作的智界、和北汽合作的享界、江淮的尊界,以及跟上汽的尚界。
这 “ 五界 ” 已经有 16-100 万不同价位段的新能源汽车品牌矩阵了。
这几年华为鸿蒙智行在行业内的表现也属实抢眼。
根据上个月销量数据统计,鸿蒙智行以 44579 辆的月交付量、全系累计突破 90 万辆的成绩,再次刷新新势力品牌达成速度纪录。
更牛的是,问界 M9 连续 17 个月稳居 50 万以上销冠,尊界 S800 斩获 70% 百万顶配订单……
除此之外,还有不少搭载华为乾崑智驾合作的车型上市,覆盖阿维塔、深蓝、岚图等多个品牌。
所以华为在技术共创、深度参与产品定义研发这块的布局,也是战绩可查。
这种合作模式应该大家不陌生了吧。
一句话概括就是,华为负责智能驾驶、鸿蒙座舱等核心技术研发和产品定义,然后合作的车商负责整车平台、生产制造及销售渠道。
意思这些合作的汽车除了不进华为门店,其他都跟智选差不多。
重点再补充下最近的新消息。
有媒体了解到,华为或将在今年发布一套全新的车企合作模式:Hi Plus 模式。
字面意义上,是在原先 Hi 模式合作模式上的拓展。
补充下华为在汽车领域和主机厂的合作模式,包括零部件供应、提供全栈集成解决方案的“ Hi 解决方案 ”、技术生态合作的 “ 鸿蒙智行 ”。
Hi Plus 介于 Hi 模式和鸿蒙智行模式之间,参考新款阿维塔 07 ,这周四会正式发布。
这块应该到时候就会明确了。
所以,华为在智能汽车领域的野心,其实远超我们的想象。
而商标注册这块,虽然有些商标略显夸张,但也彰显了华为往智能汽车顶峰进军的野心。
不管是不是出于占位考虑,华为注册的其实不仅仅是商标,更多是技术、生态布局上的一环。
参考资料:
鸿蒙智行、阿维塔、左思汽研、新浪微博等其他网络信息
编辑:CR
京ICP备09113703号-1
信息网络传播视听节目许可证: 0110553
广播电视节目制作经营许可证
公司名称:北京车之家信息技术有限公司
中央网信办违法和不良信息举报中心
违法和不良信息举报电话:400-868-5856
举报邮箱:jubao@autohome.com.cn

