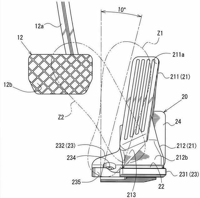
如果你是 唐DM(参数|询价)I车主,你肯定也发现了这件事情了,就是我们唐DMI的加油门的这个踏板,采用的是风琴式油门踏板,可是,如果你是足够了解车圈的车主,你也肯定知道另外一件事情,那便是现如今市面上,大多数车型用的踏板,反而是悬挂式踏板,于是,我们今天的话题就来了,为啥唐DMI不用悬挂式踏板呢?
首先,我们就不得不先说一下风琴式油门踏板的好处了,最大好处,就是踩踏时脚掌几乎完全贴合了脚步,脚跟也不会悬空,能够让车主在踩油门时,能够更加精准控制油门的加速度,特别是在加速度方面,你要是遇到超车和加速度时,风琴式踏板响应速度也比悬挂式油门踏板要快很多的,因此,唐DMI用风琴式踏板就是这些原因了。
但是,如果比亚迪要是出一个选装,让车主自主选择风琴式还是悬挂式,那么,对于我来说,我肯定会选择悬挂式,而不是风琴式,你别看风琴式好处很多,但车企和其他人不会告诉你,风琴式油门踏板的缺点可不少,悬挂式的优点也很多,空间利用率比较高,适配性也很强,最关键的,操作比较方便一些。
这就不得不说一下风琴式油门踏板的缺点了,最大硬伤,就是安装比较复杂,采用需要花大力气,因为风琴式油门的阻力是比较大的,一些车辆操控是很精准,可带来的问题是贴合度很差,踩踏方向是自上而下的,类似于风琴式的动作,带来的麻烦也不少,那么,我就给大家吐槽一下我开车遇到的事情吧。
首先,就是容易误踩油门,因为风琴式油门踏板,本身的体积就比较大,的确贴合了脚掌,可因为本身体积比较大,不像悬挂式那么小,一旦遇到紧急时刻,想着踩刹车时,一个不留神就会容易踩到油门踏板上面,体积大带来的误操作是很大的,悬挂式虽然加速度不咋样,可架不住人家体积小,误操作的可能性也很低。
其次,就是容易脚酸,的确,风琴踏板的贴合度更好一些,网上都说什么风琴式踏板的脚掌有支撑,不会悬空,可是,你长期踩油门时,那情况就不一样了,你会发现,脚掌是没什么问题了,可脚底会因为长期踩油门,导致脚步特别酸,跑一段长途下来,特别酸,而悬挂式油门踏板则不会有这方面的问题。
还有一点,是被大家忽略掉的,那便是油门踏板的安全断开,没错,现在的很多汽车,都会设计一个断轴的设定,就是在车主暴力式踩油门时,会直接断开油门加速踏板,从而保护车主不出现问题,可是,这样一个设计在应用在悬挂式和风琴式的踏板前面,却是完全不同的情况,风琴式往往更难断轴,这样反而不安全。
更何况成本也比悬挂式贵很多,如果你是大修的情况下,风琴式油门踏板的价格是要远比悬挂式贵一点的,你别小瞧这样一个维修成本,大多数当油门踏板都需要维修的时候,基本可以肯定一件事情,就是发生了非常严重的车祸,否则是不太可能出现维修这么大成本的,甚至连4S点收取的工时费都是完全不一样的。
