安全问题依旧是所有新能源车的车主和其他消费者最为关心的问题,尤其是电池的问题,但开车君三电系统的配套同样也很重要,比如电流需要通过高压线束来传输,以及充放电的控制等等。此前我们报道了 极狐T1(参数|询价)底盘护板减配的问题,现在我们再看看问题有没有被解决。
先说结论,厂家仍旧没有解决问题的意思。为何我们会这么说呢,我们有以下几个论据。
第一就是厂家客服的回应,客服表示“极狐T1的425PRO、425PLUS和425MAX三款确实是没有护板的,但是极狐T1在物理布局上设置了双保险,高压线束的安装位置是高于底盘最低点40毫米的,然后在高压线束的前下方会有坚固的护车架横梁作为防线,能够优先抵御前方潜在冲击,而后方的电池外层是采用PVC涂层和1500PA的高强度高护板,共同构成底盘的安全框架,能够从容应对日常行驶中的小石子和短暂的涉水情况”
图:极狐T1的底盘示意图,我们可以从中看到,极狐T1的电池接口和线束并没有护板保护。另外来说,客服的话听起来可信,但客服提到的处理方式,远不如一个护板进行物理阻隔来的更有效。
第二点就是厂家对此问题的处理措施,我们可以大概看出来,厂家对此有2种解决方式,第一种是为发起投诉的车主免费安装底盘护板,但更多消费者遇到的处理方式是第二种,也就是“装死”和“一问三不知”,问就是仅回复“问题已反馈至责任部门”,甚至有些车主在投诉转到4S店之后,4S店表示要让车主自费购买护板并支付安装费。
关于第二点,开车君认为,厂家对这个问题的处理方式是“按车主闹的程度来处理”,积极维权的部分车主有得免费处理,其余车主全部冷处理,这种方式虽然能够在一定程度上为事件降温,但更多车主感受到的,是“受到了不公平待遇”,这种情绪其实很容易引起连锁反应。
图:某第三方投诉平台当中,车主提到了部分车主成功加装护板。
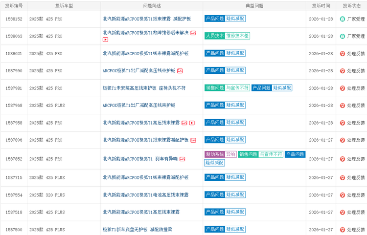
图:另一个第三方投诉平台的投诉,短时间内就有相同的投诉,可以从侧面反映问题已经非常严重。
讲到这里,我们再对这个问题进行一个简单的科普。高压线束的裸露,首先会面临最直接的物理损伤。在日常行驶中,飞石撞击或底盘刮蹭都极易导致其绝缘层破损或金属屏蔽层变形。
图:虽然动力电池听起来很简单,但这玩意并非单独一个系统,而是由多个系统组成,而且锂离子电池(三元锂/磷酸铁锂)在遭遇事故的时候,容易发生短路,所以动力电池的保护就显得非常重要。
一旦这道物理防线被突破,真正的危险——电气安全失效便接踵而至。破损处可能引发高压漏电,在潮湿环境下更易直接短路;而高压短路产生的瞬间电弧温度极高,足以引燃周边部件。同时,损坏的屏蔽层还会干扰整车低压系统,可能导致车辆出现各种故障报警甚至功能失灵。
图:电池短路、漏电的危害我们不用再提,因为小时候家长和老师已经反复提醒过用电安全。
即便暂时没有发生剧烈损伤,环境侵蚀也是一个缓慢的“杀手”。长期接触水汽、融雪盐分等腐蚀性物质,会逐渐侵蚀线束接头,导致金属腐蚀与绝缘性能下降,这等于埋下了一颗随时间推移而不断累积风险的隐患。因此,从一次磕碰,到可能引发的电气火灾,再到长期的性能劣化,风险环环相扣,其核心就在于失去了护板这道最基本、也是最关键的物理防护屏障。
图:长期暴露在外的电池,安全风险同样很大。
极狐T1的底盘护板问题,核心已从“简配”争议,演变为厂家应对的信任危机。以“设计冗余”解释安全隐患,却用“按闹分配”的方式区别对待车主,这不仅是对安全底线的试探,更是对品牌信誉的长期消耗。当统一、负责任的解决方案持续缺失,每一次个案的敷衍,都在为更大的口碑反噬积蓄能量。
京ICP备09113703号-1
信息网络传播视听节目许可证: 0110553
广播电视节目制作经营许可证
公司名称:北京车之家信息技术有限公司
中央网信办违法和不良信息举报中心
违法和不良信息举报电话:400-868-5856
举报邮箱:jubao@autohome.com.cn

