皮卡市场的“内卷”已从单纯的参数比拼转向了场景化功能的博弈。货箱尾门梯、后窗通风口、货箱照明灯等创新设计,正逐渐成为车企提升产品竞争力的重要砝码。虽然这些功能往往不是用户选车的首要考量,但它们对用车体验的优化作用不容小觑。
近日,道奇Ram与现代汽车在美国申请的皮卡新专利浮出水面。面对这些海外品牌的全新探索,国内皮卡企业能否从中汲取养分?下面让我们详细解读。
Ram优化皮卡风阻让其更节油
作为以皮卡车型为核心竞争力的品牌,Ram在北美市场拥有深厚的用户基础和良好的市场口碑。但长期以来,皮卡车型方正的车身造型、较高的离地间隙以及开放式货箱等设计,使其空气阻力一直高于轿车和SUV等车型,这不仅会影响车辆的燃油消耗,也会在高速行驶时产生较大风噪,影响驾乘舒适性。如何在不牺牲皮卡车型装载能力、通过性等核心优势的前提下,优化空气动力学表现,是Ram品牌未来重点考虑的方向。
目前Ram探索的 “更智能的气动优化方案” 尚未公布具体细节,但结合行业技术发展趋势推测,可能涉及多项创新设计与技术应用。一方面,或许会在车身线条上进行精细化调整,例如优化车头轮廓、引擎盖导流槽设计,减少气流在车身表面的紊乱现象;另一方面,智能可变空气动力学组件有望成为核心突破点,比如可自动调节的前唇、侧裙边,或是能根据行驶速度自动开合的货箱遮帘,通过实时调整车身姿态与气流走向,最大限度降低空气阻力。
同时,车辆底部的气动优化也不容忽视,平整化的底盘设计、气流导向装置等,都能有效减少车底乱流,提升整车气动性能。业内人士分析,Ram 此次对皮卡气动性能的深度探索,不仅是品牌自身产品升级的需要,也顺应了全球汽车行业向节能、高效发展的大趋势。随着各国环保法规日益严格,以及消费者对车辆燃油经济性要求的不断提高,空气动力学优化已成为汽车厂商提升产品竞争力的关键突破口。
目前,Ram官方尚未公布该气动优化方案的具体落地时间与量产计划。但可以预见的是,一旦相关技术成熟并应用于量产车型,将为皮卡市场带来新的技术变革,也将进一步巩固 Ram在皮卡领域的技术优势。而国内车企也应该在皮卡车型上进行更为细致的研发,提升整车皮卡行驶稳定性与燃油经济性,改善皮卡气动造型,让其表现与SUV不会有太大差异。
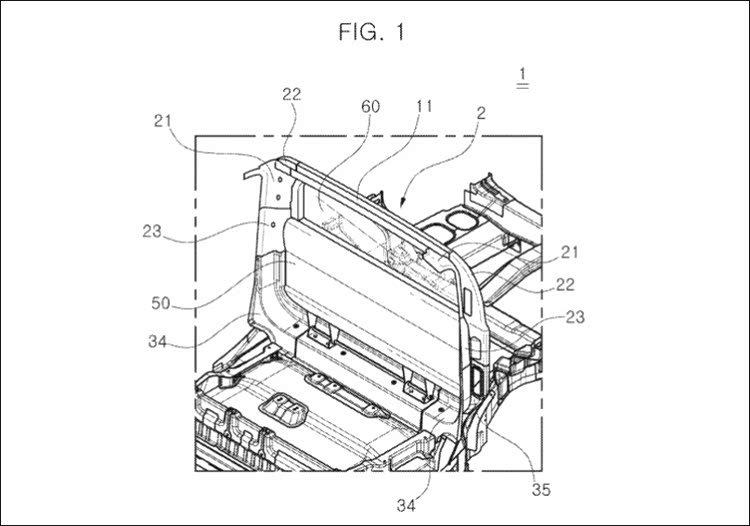
现代汽车全尺寸皮卡中间门防水专利
现代汽车计划在2030年前向美国市场推出一款全尺寸皮卡,以进一步完善其皮卡产品矩阵。为让新车更具竞争力,现代专为其申请了一项优化中门排水性能的设计专利,而 “中间门” 这个概念本身并非新鲜事物。
目前美国市场中,通用汽车旗下的电动皮卡雪佛兰Silverado EV和GMC SIERRA EV是该设计的代表,通过中间门实现了乘员舱与货厢的贯通,形成连续载物空间。国内市场方面,上汽大通 星际X(参数|询价)及星际 X EV也搭载了类似的 “二排舱门与货舱门贯通设计”,进一步强化了产品的实用竞争力。
这一设计思路其实早有先例,最早可追溯到2001年推出的雪佛兰Avalanche和凯迪拉克 Escalade EXT,前者凭借可折叠后舱壁与中门设计,能快速在五座SUV与长床皮卡间切换。此后斯巴鲁Baja、GMC Envoy XUV 等车型也尝试过该设计,但始终未能普及,核心原因既包括制造成本较高,也源于目标用户群体规模有限。而漏水问题,正是这一设计长期存在的核心痛点,也是现代此次专利的突破方向。
根据美国专利商标局公布的信息(专利号:20250376016),现代这款中门专利申请于2024 年11月19日,近期正式公开。与传统设计不同,它聚焦用户易忽视的 “雨天漏水” 痛点,在车身结构中集成了 “隐形排水沟” 式导流通道:通过特殊造型的面板与导流槽,无论是中间门开启时的淋水,还是后挡风玻璃流下的积水,都能被直接引导至车外,从源头避免水分渗入乘员舱、腐蚀线路或浸湿地板。
在此之前,皮卡中门的防水主要依赖橡胶密封条,但长期使用后密封条易老化失效,漏水、车内受潮成为高频问题。现代这套排水系统相当于给中门 “加了一层主动防护”,即便密封条出现轻微磨损,导流通道仍能发挥关键防水作用。这种从实际使用场景出发的细节优化,远比炫目的配置更能提升产品竞争力,对皮卡用户而言,“不漏水、好打理” 的实用性,往往比单纯的高科技堆砌更具吸引力。
写在最后
今天文章内容主要讲的是海外关于皮卡的两个最新的前沿设计与专利。我们通常会陷入海外市场和国内无关的陷阱,但在中国皮卡走出去的大背景下,海外市场的动向,车企的动向,反而与我们国产皮卡息息相关。而且国内皮卡市场车型的更新也不断陷入内卷,新车型通常只能通过堆配置、堆智能化增强竞争力,在较为前沿的设计上却很难看到建树,了解海外最新的趋势,将这些聚焦用户实际痛点的创新思路本土化、场景化,才是打破内卷的关键。
京ICP备09113703号-1
信息网络传播视听节目许可证: 0110553
广播电视节目制作经营许可证
公司名称:北京车之家信息技术有限公司
中央网信办违法和不良信息举报中心
违法和不良信息举报电话:400-868-5856
举报邮箱:jubao@autohome.com.cn

