点赞
评论
收藏
分享
当前位置:
保时捷要复活手动挡?这次玩的是“手自一体”
玩车改装分享
车家号·0浏览·2026-03-30 09:24 · 广东电动化浪潮下,手动挡还能活多久?保时捷给出一个新答案:把手动和自动装进同一个变速箱。
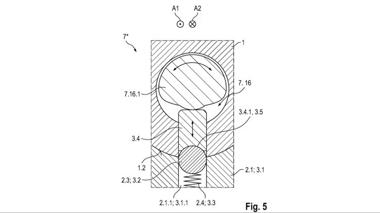
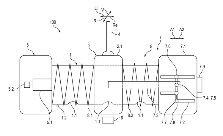
根据近期公布的专利,保时捷正在研发一种类似柯尼塞格CC850的变速箱结构——日常开是自动挡,切换到“H模式”就变成带离合踏板的六速手动,通过传感器追踪换挡动作,再用电机模拟传统手感。既能保留参与感,又能让手动挡在电气化时代继续生存。
问题是,这套系统成本极高。柯尼塞格可以靠百万美元售价消化,保时捷要把它装进更主流的车型,难度不小。但至少,这个想法本身已经足够让手动挡爱好者看到希望。你会为这样的“电控手动”买单吗?#保时捷 #手动挡 #变速箱技术
本内容来自汽车之家创作者,不代表汽车之家的观点和立场。
文章标签
点赞
评论
收藏
分享
举报/纠错
本文作者
玩车改装分享8385关注 · 3981作品
关注
改装车讯息、改装案例、改装零件、改装知识、汽车文化历史
作者其他作品
进入主页
热门内容
热门文章标签
评测体验
海选导购
新车资讯
用车攻略
二手车
改装车
自驾旅行
越野
文化历史
技术解析
车展
扫码下载汽车之家App
© 2026 汽车之家 www.autohome.com.cn
京公网安备 11010802000104号
京ICP备09113703号-1
信息网络传播视听节目许可证: 0110553
广播电视节目制作经营许可证
公司名称:北京车之家信息技术有限公司
中央网信办违法和不良信息举报中心
违法和不良信息举报电话:400-868-5856
举报邮箱:jubao@autohome.com.cn
京ICP备09113703号-1
信息网络传播视听节目许可证: 0110553
广播电视节目制作经营许可证
公司名称:北京车之家信息技术有限公司
中央网信办违法和不良信息举报中心
违法和不良信息举报电话:400-868-5856
举报邮箱:jubao@autohome.com.cn

