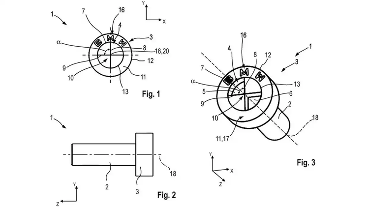
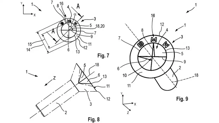
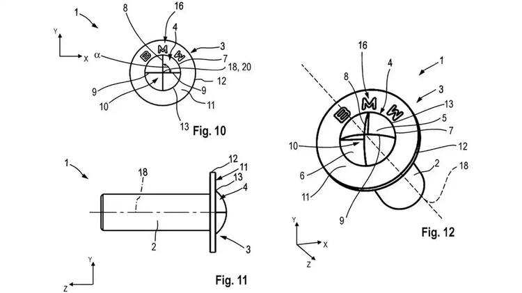
在EUIPO的知识产权数据库里,宝马汽车的一项“新型防篡改螺丝专利”忽然成为热议话题。该螺丝采用非常特殊的凹槽结构,与传统的十字、一字或六角螺丝完全不同,其螺丝头部采用宝马“BMW”的LOGO设计,但是在LOGO的四个扇形区域里,两个为凹槽受力位置,另外两个则与表面齐平,这会导致一般维修工具根本无法拆卸螺丝。
并且此类螺丝会大量应用于车辆内部和其他常见部位,比如座椅安装、连接驾驶舱的承重结构,发动机关键部件,以及车辆轮毂等。
为何要用这种特殊的螺丝呢?
专利的解释为:
建立物理壁垒,有效防止使用普通反驱动结构松开或者拧紧螺丝,将维修权限锁定在宝马授权经销商的体系内。
理由充分且清晰。
以后的宝马汽车看来只能在宝马授权门店维修了吧。
然而对于用户而言并不见得是有益的,因为授权门店的车辆维保成本普遍偏高,高于第三方维修厂;说穿了就是修车和保养都贵,可是燃油车的技术又已经非常成熟,一般的故障根本没有必要去授权店维修,除非是保险事故车。所以这样的限制可能会带来反作用,其潜在的高昂车辆维修成本可能会劝退一批宝马汽车的潜在用户。
宝马汽车应当审慎考虑是否为车辆使用此类特殊的螺丝。
当然也不排除会有企业仿制出相应的拆卸工具,但第三方维修厂配套专用工具,客观上也会被动增加车辆的维保成本。
以后的宝马汽车是不是连换轮胎都得去授权门店呢?
实际并不用。
虽说专用螺丝也会用于车辆轮毂,但是宝马汽车还不至于不留余地。有些博主和网友认为以后的宝马汽车如果爆胎或者轮胎漏气,那就只能等授权门店开来救援车了——实际并不用。专用螺丝在轮毂之上的作用还是防盗而不是为了防止拆卸;所以随车工具里依然会有可用于拆卸轮毂的扳手,不过使用RSC(泄气保用轮胎)的车辆未来可能会有例外,此类轮胎在漏气之后依然能以最高80km/h的速度行驶数十公里,此类车辆可能会不配备专用工具。
总结:
用技术防止其他维修厂能去修自家品牌的汽车产品,这样的做法可能是不理智的;燃油车的优势在于技术成熟,成熟到随处可修,于是驾驶一辆燃油车才能随心所欲的想去哪就去哪。反之,如果驾驶一辆燃油车出行,车辆的维保都必须依靠授权门店售后的话,这与那些被电池质保严格捆绑的电动汽车又有何异?用车体验怕是会大打折扣,出行便利性甚至都有可能受到影响。
并且宝马汽车售后有能力应付的了保有量巨大的宝马汽车吗?
如果售后服务跟不上,宝马汽车用这种螺丝怕是无异于给品牌掘碑。
