一颗小小的螺丝,正在改变汽车维修的游戏规则。宝马申请了一项看似酷炫、实则极具争议的新专利:螺丝头直接做成宝马logo。设计感拉满的同时,也可能让无数热衷自己动手修车的车主彻底“缴械投降”。
即便是最热衷动手的业余维修爱好者,想必也时不时会惊讶于螺丝头的种类究竟有多少。专业网站仅列举了十几种常见螺丝头样式——而这还只是最基础的一部分。除此之外,当然也存在没有螺丝头的螺丝。而至于需要哪种螺丝刀的问题,也早已不再只是“一字还是十字”这么简单。
得益于宝马,这种多样性在未来或许还会变得更加丰富——或者说,更加混乱。因为这家总部位于慕尼黑的汽车制造商,早在2024年夏天就已向世界知识产权组织(WIPO)提交了一项新型螺丝头设计的专利申请,而该专利在几天前刚刚被公开。
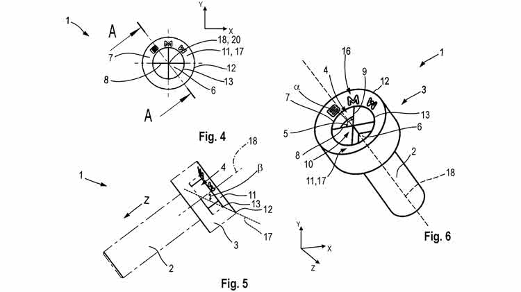
该专利涉及的是一种螺丝头本身就是品牌标志的螺丝,也就是带有边框的宝马字样,以及中间的螺旋桨式BMW标志。宝马以及该项发明的发明人恩斯特·洛伦茨(Ernst Lorenz)当然非常清楚,螺丝本身并不是什么新发明。
他们在专利说明书的开头就明确指出:螺丝,尤其是用于拧入基材的螺丝,从技术现状来看本质上早已是公知技术。然而,在宝马看来,现有螺丝存在一个问题:其缺点在于,这类驱动结构出现得过于频繁,以至于通过相应螺丝形成的螺纹连接,可以被任何人轻易地松开或拧紧。但在某些应用场景中,宝马希望只有一小部分特定人员才能被允许“操作、拆卸或安装该螺纹连接”。
正因如此,宝马表示,通过将螺旋桨logo作为结构,他们发明了一种具有特定结构的螺丝,该螺丝无法,或只能通过极少数标准螺丝工具进行拧紧和/或松开。这种啮合凹槽的形状可以有效防止螺丝被常见的反向驱动结构——例如不具备授权的人员——进行拆卸或安装。
从某种角度来看,这一逻辑确实说得通。而且在不少驾驶者和品牌粉丝眼中,带有宝马logo的螺丝看起来也确实相当酷。尤其是因为,按照专利文件中的说明,宝马计划将这种螺丝主要用于车辆内部,例如:驾驶舱与承载式车身结构的连接、中控台的固定以及座椅的螺纹连接。原则上,这种螺丝的应用范围非常广泛。专利文件还显示,这些宝马螺丝可以拥有多种不同的螺丝头形式:半圆头、沉头、圆柱头。
然而,对“未经授权人员”成立的限制条件,同样也会对业余和自行维修的车主造成明显弊端,因为现有的工具根本无法拧动这些螺丝。而且从目前来看,宝马显然也并不打算向车主提供相应的工具——否则,这将直接违背其专利中所强调的应用目的。结果就是:一旦需要对这些被特殊螺丝固定的部件进行维修或拆卸,车辆就必须被送往宝马授权经销商或4S店,而这些维修点自然会配备所需的专用工具。如此一来,这个原本看似“很酷”的设计,立刻就对消费者的钱包产生了切实影响。
这不禁让人怀疑,这项表面上看似富有创意的设计,其真正目的是否在于保护授权维修网点的商业利益。当然,正如所有专利一样:专利被申请,并不意味着技术一定会在现实中投入使用。
