宝马近期获批了一项全新专利,该专利围绕螺栓头部展开设计,本身并无特殊技术突破,但其头部造型极具辨识度 ——完全复刻了宝马品牌logo的样式。
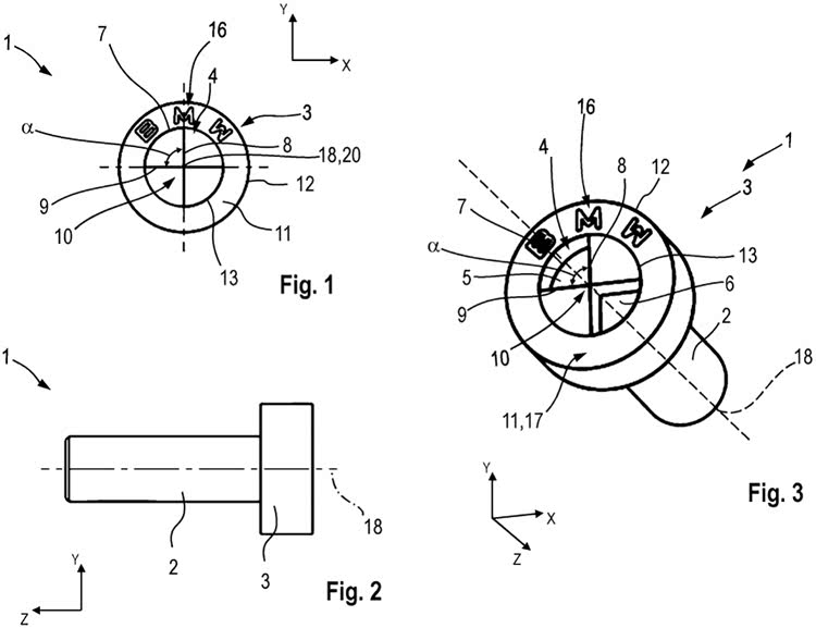
宝马于 2024 年 6 月 7 日提交该新型螺栓专利申请,相关专利内容于 2026 年 12 月 11 日正式公开。根据公开的专利图纸显示,这款螺栓头部参照宝马徽标打造,左上与右下的蓝色区域被设计为深浅不同的凹陷结构。专利文件中并未明确标注该零部件的具体应用位置,不过业内推测,其大概率可适配发动机舱、车内、车身钣金等车辆多个部位。
可以确定的是,一旦这类螺栓装车使用,普通维修工具将无法完成拧松与紧固操作,维修作业必须配套专属的特制工具方可开展。
当然,该技术目前仅为专利阶段,是否会真正应用到宝马量产车型上,尚未有定论。车企通常会申请大量各类专利,其中不少专利最终并不会落地到实际产品的设计生产中。
但倘若宝马将这项专利技术正式投入量产,后果可想而知:对于没有配备专属工具的汽修厂与车主而言,车辆维修将陷入困境。尽管第三方会迅速推出兼容工具,但归根结底,车主仍需为宝马新款车型的维修额外增加一笔开支。
宝马是否会落地该专利尚无定数,可当下车企强制要求维修使用自家专属软硬件的现象,正愈发普遍,维修诊断软件领域的此类问题尤为突出。
「维修权(Right to Repair)」这一概念在中国尚属陌生,而在北美、欧洲地区,相关政策与法案的研究已十分成熟,针对性监管条例也早已落地实施。禁止技术封锁、配件垄断抬高维修成本、绑定官方售后,损害消费者利益。
维修权的核心是:消费者购买商品(汽车 / 电子设备 / 家电等)后,有权自主选择维修方、维修配件,同时有权获取产品的维修手册、诊断工具、原厂技术数据,企业不得通过专利、软硬件封锁等方式,限制消费者 / 第三方维修机构对商品的合法维修行为。简单说:买了东西,怎么修、找谁修、用什么配件修,决定权在你手里,而非品牌方。
宝马专利为何涉嫌侵犯维修权?
宝马这款复刻品牌徽标的异形螺栓专利,是典型的「用硬件设计壁垒限制维修权」,争议点直击核心:
该螺栓为非行业通用规格,普通扳手 / 套筒无法适配,只有宝马的专属特制工具才能拆装;
若装车量产,第三方汽修厂、个人车主将彻底失去自主维修的能力,只能选择宝马官方售后,被迫接受其定价、服务规则;
本质是车企通过专利技术垄断,变相剥夺车主的维修选择权,违背「维修权」的核心原则。
各界纷纷表示,宝马此次获批的这项专利,与消费者的维修权相悖。业内预判,若宝马执意将该专利应用于量产车型,势必会与消费者及监管机构产生冲突。
